GLC FOOD HUB design and construction process

In the fall semester of every school year, the Small Center for Collaborative Design teaches a design-build research studio for Tulane Architecture students to learn what it takes to bring a project from schematic design to construction completion with a budget of roughly $30,000 and a timeline of one academic semester.

This project was designed and built by Cooper Pertchik, Javier Castillo, Amanda Martell, Meghan Schleif, Jonnathan Hall, Luke Gannon, Aliyah Murph, Juliet Hess, Ella Comstock, Ben Derlan, and Emilie Taylor-Welty in partnership with the Growing Local Collaborative, and funded and supported by TuSABE and the Small Center for Collaborative Design.

To see more of the Small Center’s work check out their website: https://small.tulane.edu/

OUR CLIENT: The Growing Local Collaborative

The design process began with understanding our client, selected from a pool of local non-profits in need of an architectural structure, The Growing Local Collaborative.

The GLC is a collaborative organization made up of several food-focused non-profits.

  • Sprout Nola (a local urban farm)

  • Recirculating Farms (a local urban farm with an established distribution network)

  • Top Box (an org. that focuses on distributing food to underserved communities)

  • Market Umbrella (an org. that manages the local farmers’ markets)

  • NOLA FPAC (an org. focused on lobbying and changing local policies regarding food access)

The GLC recently began gained access the outdoor space around the Myrtle Banks building. The building is a historical school building, managed by the Dryades YMCA, with deep historical ties to the food system in Central City, New Orleans

CLIENT GOALS

The GLC is a group made up of organizations spread across the city. The New Myrtle Banks site was to become the new hub for these organizations that already worked closely with one another.

My team’s design intervention was only a small part of the GLC’s long-term goals to grow its impact.

Some of the client’s expressed goals for the new space are as follows.

  • a multi-functioning outdoor space

  • a gathering space for farmers’ markets

  • a classroom/teaching space

  • a communal table

  • a rainwater catchment strategy

  • raised planter beds accessible for people of different abilities

  • low-maintenance material choices

REFINED PROJECT MISSION

“To Bring People Together Over Food”

SITE

The site is located on OC Haley Blvd in Central City New Orleans. A historically underserved neighborhood with limited food access.

We first helped our clients design a masterplan for their new site and locate their urban farm with solar studies, as well as our zone of intervention for the design/build project.

SCHEMATIC DESIGN

We split in to smaller groups to develop a variety of schemes and give our clients options.

The drawings and images shown are from my group’s scheme with a shed roof, rain garden, and brick walls to define space.

Other groups developed more dramatic schemes with undulating roofs and varying water management strategies. After our first client review, we heard that they wanted something that drew less attention and allowed its functionality to speak for itself.

As a team, we felt discouraged by the feedback. I recall a classmate saying, “My dad could design the pavilion they want.” In hindsight, the formal constraint taught me how a simple project can be made beautiful in the details.

DESIGN DEVELOPMENT

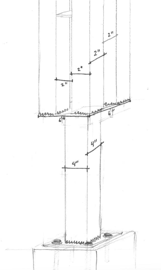
After refining our understanding of our clients goals, we split again to develop individual aspects of the design. I designed the columns while others did the trusses, foundation/plinth, landscaping, brick wall, bench, and water management system all while collaborating and communicating our decisions and concepts with one another.

SECTIONS + DETAILS + DIAGRAMS

REUSE DIAGRAM

CONSTRUCTION PHOTOS

PHOTOS + RENDERS